Blog
Bayer group acquires yet another patent on compositions comprising Fluopyram
Fluopyram, a pyridyl-ethyl benzamide derivative, is a broad spectrum synthetic fungicide developed by the Bayer group. Fluopyram is effective against white mold, gray mold, powdery mildew, apple scab and other fungal diseases. It further exhibits nematicidal properties in various crops.
Continue reading
ELISA for diagnosis of Crohn's disease: Serological detection of IL-23 Receptor variants
Interleukins are cytokines that act as immunomodulatory agents and are implicated in a variety of autoimmune inflammatory diseases. Interleukin-23 (IL-23), considered to be involved in the differentiation of T helper type 17 cells, is a principal molecule in autoimmunity and is an important drug target molecule for the treatment of many auto immune inflammatory diseases.
Continue reading
(Indian Patent Office)- Filing of Application for a Patent
The patent office is the first line of patent information services in India. The office of the Controller general of Patents, Designs and Trademarks falls under the jurisdiction of Department of Industrial policy and Promotion, Ministry of Commerce and Industry.
Continue reading
North-Eastern University, Boston bags a Patent on Collagen Fibrillogenesis
Collagen, well-known as an anti-aging supplement, is an extracellular structural protein found in the connective tissues of bones, tendons, ligaments, cornea, cartilage, skin, intervertebral disc etc. Collagen fibrils are made up of triple helical units that are assembled together.
Continue reading
Computing in Space
Imagine not having to travel for a meeting anywhere or imagine shopping right from the place you are standing by trying out the products virtually. Isn’t that really exciting? This is the Future.
Continue reading
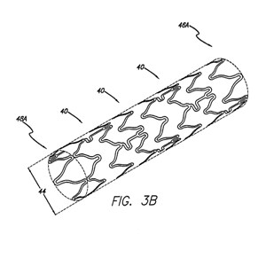
Flexible Intravascular Stent Devices from Abbott
Abbott Cardiovascular Systems Inc., a subsidiary of Abbott Laboratories has obtained a US patent No. 9504587 for an intravascular stent device on November 29, 2016. The application for this patent was divided out of a main US application No. 11/507,852 which is now a patent No. 8834554.
Continue reading
“MILES TO GO” After Patent grant
A patent grant is not an end in itself. To well reap the benefits of the patent grant, a patentee must ensure the following: a) Payment of patent annuities b) Filing of statement on working of patents c) Recordal of assignments etc. with the patent office
Continue reading
Classification of Claims
Earlier we had dealt with a broader classification of patent claims. It was largely based on dependency where Independent and dependent claims were dealt with. Various schools of thought have classified patent claims based on numerous criteria. The subject matter based classification had been introduced to study the ambit of improvisation and innovation through a meticulous analysis of the patent claims.
Continue reading
Meet the Meat of Future
Since decades, scientists and entrepreneurs have been trying to invent the imitation meat. The demand for meat is inflating and this demand can’t be reached only by using animals. Countless animals are being slaughtered every single day for consumption.
Continue reading
Blockchain: A better step to future
Over more than three decades of Internet development, it has brought an impact across the man-kind and has become the mode of communication. It is an empowering tool with more potential than any other human civilization has ever developed. Web is remaking our world and our lives. It has brought the beginning of new era called, VIRTUAL REVOLUTION.
Continue reading